Light Rail System HANKOOK HR Series

HANKOOK HR Series is a precast light rail system that is high-quality, durable, and versatile. It can be used in any environment and is designed for easy assembly with a modular installation system that ensures fast and safe installation. The series consists of three different models, each featuring a simple and easy-to-install design. All components are easily assembled and disassembled, making installation and maintenance quick and easy.

Facebook
Twitter
Email
Print

Structure Light Rail System

Single girder Suspension crane

2023 04 24 163001 1 scaled 1

Double girder Suspension crane

Monorail type

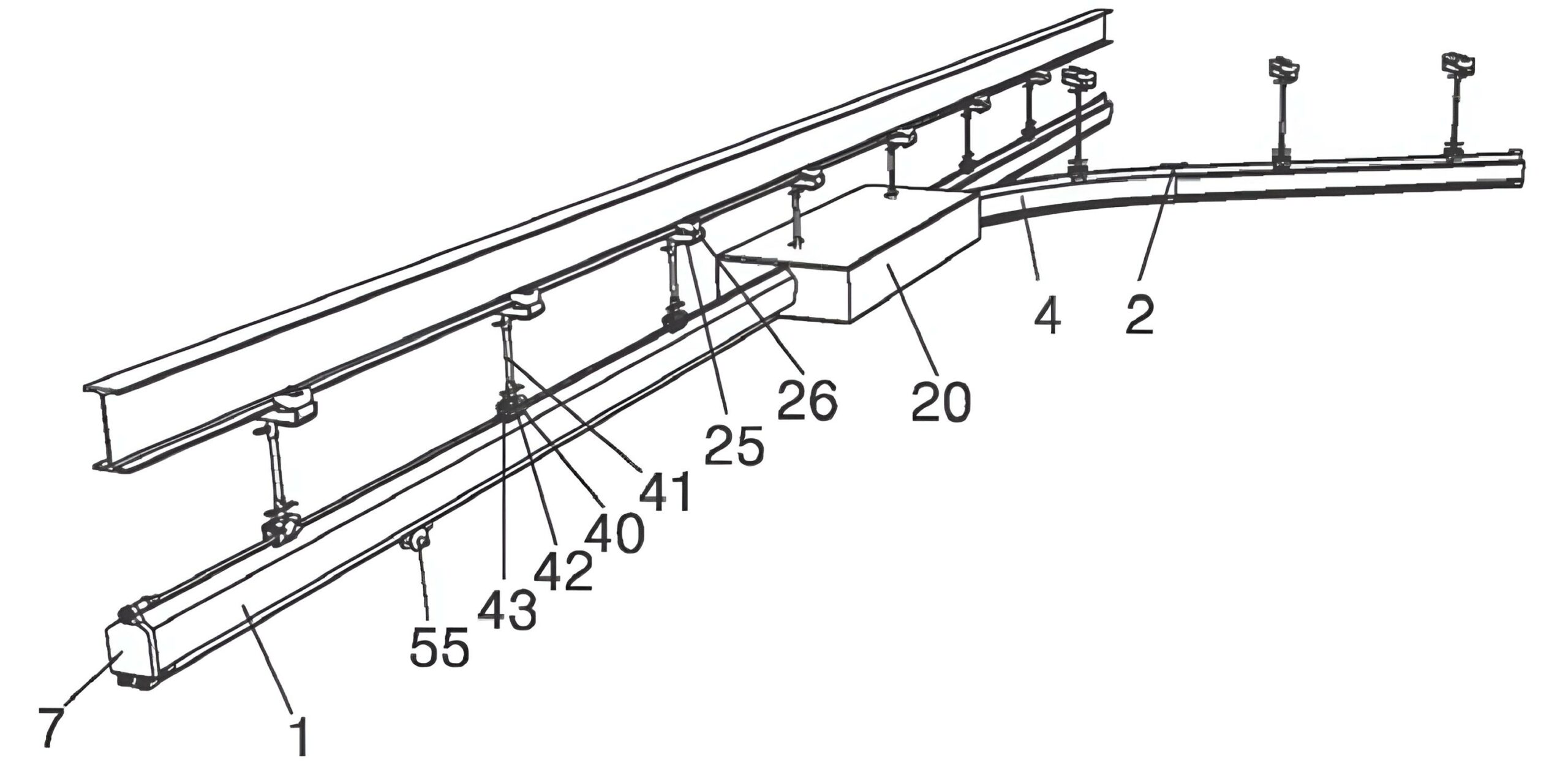
No. Designation. No. Designation. No. Designation.
1 Straight rail section 40 Ball head suspension rodu 70 Friction wheel travel drive
2 Joint bolt set 41 Suspension rod 75 Crane suspension eye
4 Curved rail section 42 Rail suspension clamp 78 Crab frame
6 Internal buffer stop 43 Spring clip 79 Bracing frame
7 End cap with buffer 44 Ball head bolt 83 Cable end
20 rail switch 55 Trolley 86 Cable trolley
25 Upper suspension bracket 57 Load bar - -
26 Upper suspension clamp 69 Trolley for friction wheel - -

Specifications & Performance Curves

Length L HR-I HR-IIL HR-III
Weight appr.kg Part. No. Weight appr.kg Part. No. Weight appr.kg Part. No.
1000 mm 6.4 HR9601120 13.8 HR9601130 15.7 HR9601140
2000 mm 12.8 HR9601220 27.6 HR9601230 31.4 HR9601240
3000 mm 19.2 HR9601320 41.4 HR9601330 47.1 HR9601340
4000 mm 25.6 HR9601420 55.2 HR9601430 62.8 HR9601440
5000 mm 32.0 HR9601520 69 HR9601530 78.5 HR9601540
6000 mm - - 82.8 HR9601630 94.2 HR9601640